当前位置: 首页 > 知识产权交易 > 专利转让 >

待交易一种链条生产用环保型浸油装置

专利号:2020113465619 已授权

申请日:2020-11-26发布日期:2022-08-03

立即收藏 立即询价 转让价格:询价

专利摘要

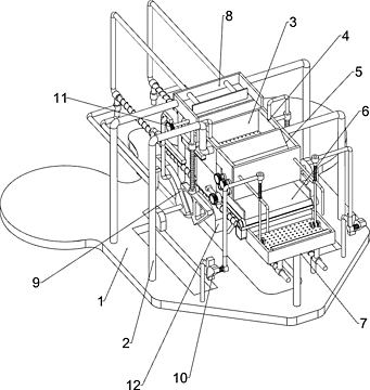
本发明涉及一种浸油装置,尤其涉及一种链条生产用环保型浸油装置。本发明提供一种能对链条进行除锈,同时能将链条上的水擦掉,而且能将链条输送至指定位置,并且能对链条进行浸油和将链条捞起的链条生产用环保型浸油装置。一种链条生产用环保型浸油装置,包括有:底座和第一支撑杆,底座顶部对称固接有第一支撑杆;存料框,两根第一支撑杆之间连接有存料框,存料框的数量为一个,存料框的形状为正方形。本发明通过设有除锈剂浸泡捞起机构,除锈剂浸泡捞起机构与自动捞起擦拭输送旋转机构配合,能够实现将存料框内的链条捞出;擦水机构与自动捞起擦拭输送旋转机构配合,能够实现对链条上的除锈剂进行擦拭的工作。

交易流程

  • 平台资深顾问将根据买家的需求,提供一对一服务,协助买家挑选到合适的专利。

  • 待买家确认无误后,根据顾问指导进行下单,并签订协议与合同,买家需要支付50%交易款给平台。

  • 平台将负责办理官方变更手续,向国知局提交转让材料。

  • 约10个工作日左右,待买家确认收到专利《变更手续合格通知书》后,向平台支付剩余交易款。

  • 转让成功后,平台会将专利证书原件、专利登记簿副本原件邮寄给买家,同时把交易尾款支付给卖家,保障双方交易顺利。

过户资料

主体资格 转让方提供 受让方提供 平台提供 转让完成,可获得
自然人 身份证复印件,专利证书原件; 身份证复印件
有效个体营业执照
转让申请书
代理委托书
转让协议书
发明人变更声明
专利证书
手续合格通知书
专利登记簿副本
公司 有效的企业营业执照副本复印件,专利证书原件 有效的企业营业执照副本复印件;企业组织机构代码证
平台专属代理事务所将对委托交易全程监督,确保所有交易合同及相关文件合法有效。

发布求购信息