当前位置: 首页 > 知识产权交易 > 专利转让 >

待交易一种环保型环状气动双贯流式秸秆粉碎装置

专利号:2020107755760 已授权

申请日:2020-08-05发布日期:2022-08-03

立即收藏 立即询价 转让价格:询价

专利摘要

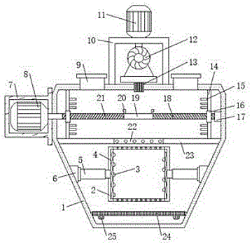
本发明公开了一种环保型环状气动双贯流式秸秆粉碎装置,针对粉碎不够彻底和细腻,导致后续使用不便的问题,现提出以下方案,包括箱体,所述箱体的上半部分呈圆柱体,箱体的下半部分呈梯台形,所述箱体顶部外壁的两侧均插接有进料斗,所述箱体一侧外壁靠近顶部的位置通过螺栓固定有电机箱,电机箱的一侧内壁上通过螺栓固定有第一电机,第一电机输出轴键连接有连接轴,箱体远离第一电机的一侧内壁上通过螺栓固定有轴承。本发明横向利用第一电机进行驱动进行物理切片式切割,纵向利用第二电机进行驱动进行风压气流式气动切割,风力切割后形成环流,从而形成环状双贯流式切割,多方位的将秸秆进行细化粉碎。

交易流程

  • 平台资深顾问将根据买家的需求,提供一对一服务,协助买家挑选到合适的专利。

  • 待买家确认无误后,根据顾问指导进行下单,并签订协议与合同,买家需要支付50%交易款给平台。

  • 平台将负责办理官方变更手续,向国知局提交转让材料。

  • 约10个工作日左右,待买家确认收到专利《变更手续合格通知书》后,向平台支付剩余交易款。

  • 转让成功后,平台会将专利证书原件、专利登记簿副本原件邮寄给买家,同时把交易尾款支付给卖家,保障双方交易顺利。

过户资料

主体资格 转让方提供 受让方提供 平台提供 转让完成,可获得
自然人 身份证复印件,专利证书原件; 身份证复印件
有效个体营业执照
转让申请书
代理委托书
转让协议书
发明人变更声明
专利证书
手续合格通知书
专利登记簿副本
公司 有效的企业营业执照副本复印件,专利证书原件 有效的企业营业执照副本复印件;企业组织机构代码证
平台专属代理事务所将对委托交易全程监督,确保所有交易合同及相关文件合法有效。

发布求购信息