当前位置: 首页 > 知识产权交易 > 专利转让 >

待交易一种水果罐头用转运装置

专利号:2021101599477 已授权

申请日:2021-02-05发布日期:2022-08-02

立即收藏 立即询价 转让价格:询价

专利摘要

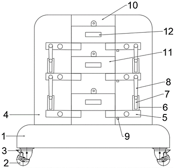
本发明公开了一种水果罐头用转运装置,涉及水果罐头生产领域,包括底板,底板的底部设置有行走机构,底板的顶部设置有转运板,转运板的内部开设有放置腔且放置腔内部设置有摆放机构,存放箱的内部设置有封箱机构且其的前侧设置有传感把手,放置腔的后侧设置有若干个顶部设置有固定机构的固定板。本发明当装置使用时,把水果罐头放入存放箱内部,利用封箱机构把存放箱封闭,然后使限定板到达垂直位置,使上方的摆动板的进行摆动,使上方的摆动板远离限定板的一端伸至放置腔内部,从而再从上方放置存放箱时,达到分层放置的效果,避免在转运过程中由于存放箱之间相互接触导致碰撞的产生,从而避免罐头的损坏,增加装置的适用性。

交易流程

  • 平台资深顾问将根据买家的需求,提供一对一服务,协助买家挑选到合适的专利。

  • 待买家确认无误后,根据顾问指导进行下单,并签订协议与合同,买家需要支付50%交易款给平台。

  • 平台将负责办理官方变更手续,向国知局提交转让材料。

  • 约10个工作日左右,待买家确认收到专利《变更手续合格通知书》后,向平台支付剩余交易款。

  • 转让成功后,平台会将专利证书原件、专利登记簿副本原件邮寄给买家,同时把交易尾款支付给卖家,保障双方交易顺利。

过户资料

主体资格 转让方提供 受让方提供 平台提供 转让完成,可获得
自然人 身份证复印件,专利证书原件; 身份证复印件
有效个体营业执照
转让申请书
代理委托书
转让协议书
发明人变更声明
专利证书
手续合格通知书
专利登记簿副本
公司 有效的企业营业执照副本复印件,专利证书原件 有效的企业营业执照副本复印件;企业组织机构代码证
平台专属代理事务所将对委托交易全程监督,确保所有交易合同及相关文件合法有效。

发布求购信息