当前位置: 首页 > 知识产权交易 > 专利转让 >

待交易 一种水培番茄的自动收割机

专利号:2020102774144 已授权

申请日:2020-04-10发布日期:2022-08-02

立即收藏 立即询价 转让价格:询价

专利摘要

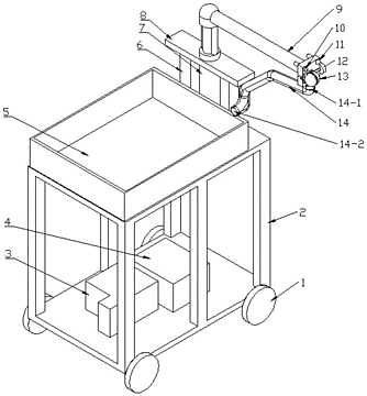
本发明涉及农业水培领域,具体是一种水培番茄的自动收割机,包括机架和安装在机架上的自动收割装置,还包括:感应机构,所述感应机构安装在切割机构的上部,用于感应番茄的相对位置,并发送信号给控制机构;所述自动收割装置包括伸缩机构和切割机构,所述切割机构通过所述伸缩机构安装在机架上,所述控制机构控制所述切割机构收割番茄;以及控制机构和电源,所述控制机构与感应机构和切割机构电连接;所述电源提供电能。本发明的有益效果是:通过设置感应机构、伸缩机构和切割机构,所述切割机构通过所述伸缩机构安装在机架上,实现水培番茄的位置感知和自动收割;简单机构的模块化组装,完全的自动化,节约了人力成本和时间成本。

交易流程

  • 平台资深顾问将根据买家的需求,提供一对一服务,协助买家挑选到合适的专利。

  • 待买家确认无误后,根据顾问指导进行下单,并签订协议与合同,买家需要支付50%交易款给平台。

  • 平台将负责办理官方变更手续,向国知局提交转让材料。

  • 约10个工作日左右,待买家确认收到专利《变更手续合格通知书》后,向平台支付剩余交易款。

  • 转让成功后,平台会将专利证书原件、专利登记簿副本原件邮寄给买家,同时把交易尾款支付给卖家,保障双方交易顺利。

过户资料

主体资格 转让方提供 受让方提供 平台提供 转让完成,可获得
自然人 身份证复印件,专利证书原件; 身份证复印件
有效个体营业执照
转让申请书
代理委托书
转让协议书
发明人变更声明
专利证书
手续合格通知书
专利登记簿副本
公司 有效的企业营业执照副本复印件,专利证书原件 有效的企业营业执照副本复印件;企业组织机构代码证
平台专属代理事务所将对委托交易全程监督,确保所有交易合同及相关文件合法有效。

发布求购信息