当前位置: 首页 > 知识产权交易 > 专利转让 >

待交易一种便于使用的打夯机

专利号:2017108836570 已授权

申请日:2017-09-26发布日期:2022-08-02

立即收藏 立即询价 转让价格:询价

专利摘要

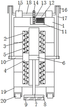
本发明公开了一种便于使用的打夯机,包括安装套,所述安装套内壁的两侧均开设有限位槽,所述限位槽内壁的顶部和底部通过滑杆连接,所述滑槽内且套接在滑杆上滑动连接有滑块,所述滑杆上且位于滑块的上下两侧均套接有减震弹簧,且两个滑块相对的一侧通过载板连接,所述载板的底部与推杆的顶端固定连接,所述推杆的底端贯穿安装套且与其下方的压板的顶部固定连接。本发明通过对压板的改进,在安装套内壁的两侧均开设滑槽,并且在滑槽内插接滑杆,能够使滑块稳定带动载板进行上下移动,从而能够使载板通过推杆稳定推动压板进行上下移动,由于U形杆带动传动杆的移动轨迹被限制,能够进一步提高压板移动时的稳定性。

交易流程

  • 平台资深顾问将根据买家的需求,提供一对一服务,协助买家挑选到合适的专利。

  • 待买家确认无误后,根据顾问指导进行下单,并签订协议与合同,买家需要支付50%交易款给平台。

  • 平台将负责办理官方变更手续,向国知局提交转让材料。

  • 约10个工作日左右,待买家确认收到专利《变更手续合格通知书》后,向平台支付剩余交易款。

  • 转让成功后,平台会将专利证书原件、专利登记簿副本原件邮寄给买家,同时把交易尾款支付给卖家,保障双方交易顺利。

过户资料

主体资格 转让方提供 受让方提供 平台提供 转让完成,可获得
自然人 身份证复印件,专利证书原件; 身份证复印件
有效个体营业执照
转让申请书
代理委托书
转让协议书
发明人变更声明
专利证书
手续合格通知书
专利登记簿副本
公司 有效的企业营业执照副本复印件,专利证书原件 有效的企业营业执照副本复印件;企业组织机构代码证
平台专属代理事务所将对委托交易全程监督,确保所有交易合同及相关文件合法有效。

发布求购信息