当前位置: 首页 > 知识产权交易 > 专利转让 >

待交易 一种建筑吊篮起吊设备

专利号:202020443554X 已授权

申请日:2020-03-31发布日期:2022-08-02

立即收藏 立即询价 转让价格:询价

专利摘要

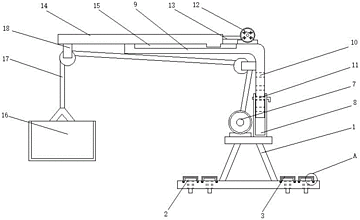
本实用新型公开了一种建筑吊篮起吊设备,包括底座、驱动电机和所述支架,所述底座的上方另一侧设置有支架,所述底座的下方两侧均贯穿有螺纹杆,且螺纹杆的外侧设置有保护套,所述保护套的下方与卡槽配合安装,且卡槽开设在底座的底部上表面,所述驱动电机设置在底座的上方一侧,且驱动电机的前方安装有转轴,同时转轴的前方固定有滚轮,所述支架的上方设置有活动架,且活动架的表面开设有插孔,同时插孔的内部贯穿有插销,所述活动架的上方一侧安装有液压缸,且液压缸的一侧固定有液压杆。本实用新型,简化的吊篮起吊设备便于对起吊设备的高度进行调节,且便于对吊篮的伸出位置进行调节,使得该起吊设备能适应各种建筑环境。

交易流程

  • 平台资深顾问将根据买家的需求,提供一对一服务,协助买家挑选到合适的专利。

  • 待买家确认无误后,根据顾问指导进行下单,并签订协议与合同,买家需要支付50%交易款给平台。

  • 平台将负责办理官方变更手续,向国知局提交转让材料。

  • 约10个工作日左右,待买家确认收到专利《变更手续合格通知书》后,向平台支付剩余交易款。

  • 转让成功后,平台会将专利证书原件、专利登记簿副本原件邮寄给买家,同时把交易尾款支付给卖家,保障双方交易顺利。

过户资料

主体资格 转让方提供 受让方提供 平台提供 转让完成,可获得
自然人 身份证复印件,专利证书原件; 身份证复印件
有效个体营业执照
转让申请书
代理委托书
转让协议书
发明人变更声明
专利证书
手续合格通知书
专利登记簿副本
公司 有效的企业营业执照副本复印件,专利证书原件 有效的企业营业执照副本复印件;企业组织机构代码证
平台专属代理事务所将对委托交易全程监督,确保所有交易合同及相关文件合法有效。

发布求购信息