当前位置: 首页 > 知识产权交易 > 专利转让 >

待交易一种建筑装修用水准仪

专利号:2020203879488 已授权

申请日:2020-03-24发布日期:2022-08-02

立即收藏 立即询价 转让价格:询价

专利摘要

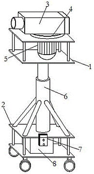
本实用新型公开了一种建筑装修用水准仪,包括第一载板、第二载板和测量仪所述测量仪位于第一载板上,所述第二载板上设有液压升降器、控制器和电瓶,所述液压升降器通过螺丝固定于第二载板上,所述液压升降器的升降柱与第一载板固定,所述第一载板上设有电机,所述测量仪固定于转动盘上,所述转动盘嵌合于第一载板上,所述电机贯穿第一载板与转动盘连接,所述控制器内部设有控制器和红外线接收器。本水准仪的角度调节和高度调节都是通过远程遥控的方式来实现,机械调节的方式,使得水准仪调节的更加的精确,避免了人工调节过程中,造成流程繁琐以及位置调节不精细的问题。

交易流程

  • 平台资深顾问将根据买家的需求,提供一对一服务,协助买家挑选到合适的专利。

  • 待买家确认无误后,根据顾问指导进行下单,并签订协议与合同,买家需要支付50%交易款给平台。

  • 平台将负责办理官方变更手续,向国知局提交转让材料。

  • 约10个工作日左右,待买家确认收到专利《变更手续合格通知书》后,向平台支付剩余交易款。

  • 转让成功后,平台会将专利证书原件、专利登记簿副本原件邮寄给买家,同时把交易尾款支付给卖家,保障双方交易顺利。

过户资料

主体资格 转让方提供 受让方提供 平台提供 转让完成,可获得
自然人 身份证复印件,专利证书原件; 身份证复印件
有效个体营业执照
转让申请书
代理委托书
转让协议书
发明人变更声明
专利证书
手续合格通知书
专利登记簿副本
公司 有效的企业营业执照副本复印件,专利证书原件 有效的企业营业执照副本复印件;企业组织机构代码证
平台专属代理事务所将对委托交易全程监督,确保所有交易合同及相关文件合法有效。

发布求购信息