当前位置: 首页 > 知识产权交易 > 专利转让 >

待交易 一种多功能铝合金门窗

专利号:2019207165126 已授权

申请日:2019-05-17发布日期:2022-08-02

立即收藏 立即询价 转让价格:询价

专利摘要

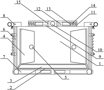
本实用新型提供一种多功能铝合金门窗,包括门框,置物板,防护垫,门窗,把手,可缓冲安装固定架构,可折叠擦拭板结构,可调节挂接架结构,防护壳,照明灯,防护管,防护杆,阻挡块,缓冲簧和夹持片,所述的置物板镶嵌在门框内侧后表面的下部;所述的防护垫胶接在置物板的上部;所述的门窗分别合页连接在门框内的左右两侧;所述的把手螺钉连接在门窗内侧的中间位置;所述的可缓冲安装固定架构分别设置在门框的左右两侧。本实用新型固定板,滑杆,滑块,耳板,安装孔和连接簧的设置,有利于对铝合金门窗进行安装固定;支撑板,连接杆,螺杆,擦拭片,转轴和安装螺栓的设置,有利于利用擦拭片对铝合金门窗上的杂物进行清理。

交易流程

  • 平台资深顾问将根据买家的需求,提供一对一服务,协助买家挑选到合适的专利。

  • 待买家确认无误后,根据顾问指导进行下单,并签订协议与合同,买家需要支付50%交易款给平台。

  • 平台将负责办理官方变更手续,向国知局提交转让材料。

  • 约10个工作日左右,待买家确认收到专利《变更手续合格通知书》后,向平台支付剩余交易款。

  • 转让成功后,平台会将专利证书原件、专利登记簿副本原件邮寄给买家,同时把交易尾款支付给卖家,保障双方交易顺利。

过户资料

主体资格 转让方提供 受让方提供 平台提供 转让完成,可获得
自然人 身份证复印件,专利证书原件; 身份证复印件
有效个体营业执照
转让申请书
代理委托书
转让协议书
发明人变更声明
专利证书
手续合格通知书
专利登记簿副本
公司 有效的企业营业执照副本复印件,专利证书原件 有效的企业营业执照副本复印件;企业组织机构代码证
平台专属代理事务所将对委托交易全程监督,确保所有交易合同及相关文件合法有效。

发布求购信息