当前位置: 首页 > 知识产权交易 > 专利转让 >

待交易 一种新型的铝合金门窗加工钣金件折弯装置

专利号:2019207036784 已授权

申请日:2019-05-17发布日期:2022-08-02

立即收藏 立即询价 转让价格:询价

专利摘要

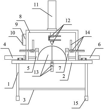
本实用新型提供一种新型的铝合金门窗加工钣金件折弯装置,包括支撑杆,工作板,加固杆,第一气缸,第一模具,第二气缸,第二模具,连接框架,PLC,开关,第三气缸,可调节冲压板架结构,测量板架结构,限位保护边结构和防滑套,所述的支撑杆分别焊接在工作板下表面的左右两侧,且支撑杆的下端套接有防滑套;所述的加固杆焊接在支撑杆和支撑杆之间的下部。本实用新型的有益效果为:通过可调节冲压板架结构的设置,方便的调节上调节板和下调节板之间的间距,进而在对完成初步折弯后的板材进行再次折弯时,能够随之使板材初步的折弯的部位翻转到上调节板和下调节板之间,且更加合理的对板材进行二次折弯的工作。

交易流程

  • 平台资深顾问将根据买家的需求,提供一对一服务,协助买家挑选到合适的专利。

  • 待买家确认无误后,根据顾问指导进行下单,并签订协议与合同,买家需要支付50%交易款给平台。

  • 平台将负责办理官方变更手续,向国知局提交转让材料。

  • 约10个工作日左右,待买家确认收到专利《变更手续合格通知书》后,向平台支付剩余交易款。

  • 转让成功后,平台会将专利证书原件、专利登记簿副本原件邮寄给买家,同时把交易尾款支付给卖家,保障双方交易顺利。

过户资料

主体资格 转让方提供 受让方提供 平台提供 转让完成,可获得
自然人 身份证复印件,专利证书原件; 身份证复印件
有效个体营业执照
转让申请书
代理委托书
转让协议书
发明人变更声明
专利证书
手续合格通知书
专利登记簿副本
公司 有效的企业营业执照副本复印件,专利证书原件 有效的企业营业执照副本复印件;企业组织机构代码证
平台专属代理事务所将对委托交易全程监督,确保所有交易合同及相关文件合法有效。

发布求购信息