当前位置: 首页 > 知识产权交易 > 专利转让 >

待交易一种拆卸方便的钢结构建筑

专利号:2020212077683 已授权

申请日:2020-06-28发布日期:2022-08-02

立即收藏 立即询价 转让价格:询价

专利摘要

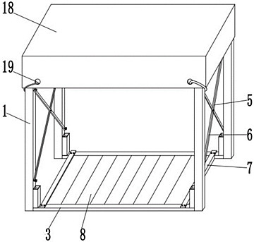
本实用新型公开了一种拆卸方便的钢结构建筑,包括四个立柱,相邻的两个立柱之间设置有顶梁,顶梁的底部设置有底梁,相邻的两个立柱之间设置有第一拉杆和第二拉杆,且第一拉杆和第二拉杆通过轴铰接,第一拉杆和第二拉杆的两端外壁均开有插装孔,两个底梁之间通过螺栓连接有两个辅助梁,且两个辅助梁之间设置有均匀分布的底板,立柱的顶部和底部的一侧外壁均焊接有连接筒,连接筒内部开有插接孔,顶梁和底梁的一侧外壁均焊接有两个插杆,插杆通过插接孔插接于连接筒内部。本实用新型通过设置的立柱、顶梁和底梁,利用顶梁和底梁上的插杆与立柱上的连接筒进性插接,使得工棚实现便于拆装的效果,从而节约了拆装工棚所用的时间。

交易流程

  • 平台资深顾问将根据买家的需求,提供一对一服务,协助买家挑选到合适的专利。

  • 待买家确认无误后,根据顾问指导进行下单,并签订协议与合同,买家需要支付50%交易款给平台。

  • 平台将负责办理官方变更手续,向国知局提交转让材料。

  • 约10个工作日左右,待买家确认收到专利《变更手续合格通知书》后,向平台支付剩余交易款。

  • 转让成功后,平台会将专利证书原件、专利登记簿副本原件邮寄给买家,同时把交易尾款支付给卖家,保障双方交易顺利。

过户资料

主体资格 转让方提供 受让方提供 平台提供 转让完成,可获得
自然人 身份证复印件,专利证书原件; 身份证复印件
有效个体营业执照
转让申请书
代理委托书
转让协议书
发明人变更声明
专利证书
手续合格通知书
专利登记簿副本
公司 有效的企业营业执照副本复印件,专利证书原件 有效的企业营业执照副本复印件;企业组织机构代码证
平台专属代理事务所将对委托交易全程监督,确保所有交易合同及相关文件合法有效。

发布求购信息