当前位置: 首页 > 知识产权交易 > 专利转让 >

待交易一种具有防火结构的钢建筑

专利号:2020212073536 已授权

申请日:2022-08-02发布日期:2022-08-02

立即收藏 立即询价 转让价格:询价

专利摘要

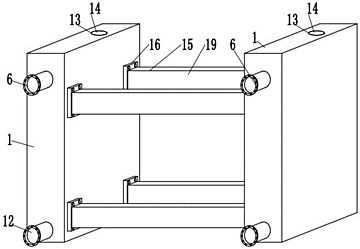
本实用新型公开了一种具有防火结构的钢建筑,包括两个钢建筑本体,钢建筑本体包括顶板和底板,顶板底部的外壁上与底板顶部的外壁之间焊接有钢架,且顶板底部的外壁上焊接有冷凝箱,冷凝箱的内部填充有冷凝液,钢架的顶端插接在冷凝箱的内部,且钢架位于冷凝箱内部的外壁上焊接有呈S型结构分布的进水管,进水管延伸至钢建筑本体的外部。本实用新型通过水管能够对将水喷到钢结构和水泥砂浆层上,一方面能够对钢架进行降温,另一方面能够将水泥砂浆层浇湿,隔热性更好,能够在水管通水时,对水管内部的常温水进行降温,降温后的冷水喷到钢架上,能够对钢架进行降温,从而避免温度过高导致钢架弯曲,降温的效果更佳。

交易流程

  • 平台资深顾问将根据买家的需求,提供一对一服务,协助买家挑选到合适的专利。

  • 待买家确认无误后,根据顾问指导进行下单,并签订协议与合同,买家需要支付50%交易款给平台。

  • 平台将负责办理官方变更手续,向国知局提交转让材料。

  • 约10个工作日左右,待买家确认收到专利《变更手续合格通知书》后,向平台支付剩余交易款。

  • 转让成功后,平台会将专利证书原件、专利登记簿副本原件邮寄给买家,同时把交易尾款支付给卖家,保障双方交易顺利。

过户资料

主体资格 转让方提供 受让方提供 平台提供 转让完成,可获得
自然人 身份证复印件,专利证书原件; 身份证复印件
有效个体营业执照
转让申请书
代理委托书
转让协议书
发明人变更声明
专利证书
手续合格通知书
专利登记簿副本
公司 有效的企业营业执照副本复印件,专利证书原件 有效的企业营业执照副本复印件;企业组织机构代码证
平台专属代理事务所将对委托交易全程监督,确保所有交易合同及相关文件合法有效。

发布求购信息