当前位置: 首页 > 知识产权交易 > 专利转让 >

待交易一种建筑用钻孔装置

专利号:2020212481785 已授权

申请日:2022-07-01发布日期:2022-08-02

立即收藏 立即询价 转让价格:询价

专利摘要

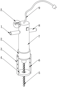
本实用新型涉及建筑施工设备技术领域,公开了一种建筑用钻孔装置,包括钻孔机主体,所述钻孔机主体的顶端设置有电线,且钻孔机主体的外侧的顶部设置有两个把手,所述钻孔机主体的底端设置有钻头,所述钻孔机主体的外侧的底部套接有钻孔机套环,所述钻孔机套环的外侧的两边均连接有调节板,所述钻孔机套环的外侧的两边均开设有第二螺孔,所述调节板的一侧等距离开设有若干个第一螺孔。本实用新型通过挡板、调节板、钻孔机套环、第一螺孔、第二螺孔、限位螺杆和圆孔,可以方便的根据所需钻孔的深度来调节挡板在钻头处的位置,以使得挡板处于合适的高度,从而使得该钻孔机可以方便的控制钻孔深度,提高了该钻孔装置的实用性。

交易流程

  • 平台资深顾问将根据买家的需求,提供一对一服务,协助买家挑选到合适的专利。

  • 待买家确认无误后,根据顾问指导进行下单,并签订协议与合同,买家需要支付50%交易款给平台。

  • 平台将负责办理官方变更手续,向国知局提交转让材料。

  • 约10个工作日左右,待买家确认收到专利《变更手续合格通知书》后,向平台支付剩余交易款。

  • 转让成功后,平台会将专利证书原件、专利登记簿副本原件邮寄给买家,同时把交易尾款支付给卖家,保障双方交易顺利。

过户资料

主体资格 转让方提供 受让方提供 平台提供 转让完成,可获得
自然人 身份证复印件,专利证书原件; 身份证复印件
有效个体营业执照
转让申请书
代理委托书
转让协议书
发明人变更声明
专利证书
手续合格通知书
专利登记簿副本
公司 有效的企业营业执照副本复印件,专利证书原件 有效的企业营业执照副本复印件;企业组织机构代码证
平台专属代理事务所将对委托交易全程监督,确保所有交易合同及相关文件合法有效。

发布求购信息