当前位置: 首页 > 知识产权交易 > 专利转让 >

待交易一种建筑用涂料混合设备

专利号:2020212456213 已授权

申请日:2020-07-01发布日期:2022-08-02

立即收藏 立即询价 转让价格:询价

专利摘要

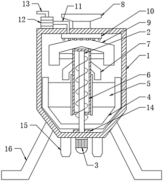
本实用新型公开了一种建筑用涂料混合设备,涉及建筑设备技术领域,包括混合箱、主轴和电机,所述混合箱的内底壁与主轴的侧表面活动连接,所述电机的顶部与混合箱的底部固定连接,所述主轴的顶端活动连接有输料管。该建筑用涂料混合设备,通过设置箱壁刮板、管刮板、多头出水管和支管,电机带动主轴转动,箱壁刮板可对混合箱的内侧壁上的涂料进行刮除,管刮板对输料管外侧壁上的涂料进行刮除,将多头出水管设置在混合箱的内顶壁,且下料管位于多头出水管的下方避免了物料在提升后,以及物料入料后,对多头出水管造成影响,阻碍出水,解决了当前设备喷淋盘上会堆积物料影响出水,刮料装置无法将物料完全刮除,造成物料浪费的问题。

交易流程

  • 平台资深顾问将根据买家的需求,提供一对一服务,协助买家挑选到合适的专利。

  • 待买家确认无误后,根据顾问指导进行下单,并签订协议与合同,买家需要支付50%交易款给平台。

  • 平台将负责办理官方变更手续,向国知局提交转让材料。

  • 约10个工作日左右,待买家确认收到专利《变更手续合格通知书》后,向平台支付剩余交易款。

  • 转让成功后,平台会将专利证书原件、专利登记簿副本原件邮寄给买家,同时把交易尾款支付给卖家,保障双方交易顺利。

过户资料

主体资格 转让方提供 受让方提供 平台提供 转让完成,可获得
自然人 身份证复印件,专利证书原件; 身份证复印件
有效个体营业执照
转让申请书
代理委托书
转让协议书
发明人变更声明
专利证书
手续合格通知书
专利登记簿副本
公司 有效的企业营业执照副本复印件,专利证书原件 有效的企业营业执照副本复印件;企业组织机构代码证
平台专属代理事务所将对委托交易全程监督,确保所有交易合同及相关文件合法有效。

发布求购信息