当前位置: 首页 > 知识产权交易 > 专利转让 >

待交易一种建筑施工用运输装置

专利号:2020212374938 已授权

申请日:2020-06-30发布日期:2022-08-02

立即收藏 立即询价 转让价格:询价

专利摘要

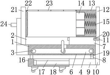
本实用新型公开了一种建筑施工用运输装置,涉及建筑施工设施技术领域,包括支撑座,所述支撑座的顶部固定连接有放置板,所述支撑座的正面转动连接有支架,所述支架背面的右侧转动连接有连接架,所述连接架背面的右侧固定连接有移动杆,所述移动杆的表面活动连接有横板。该建筑施工用运输装置,通过设置挡板、圆槽、伸缩弹簧和橡胶板,管道材料的右端位于圆槽的内部,使得管道材料运输时不会发生前后方向的晃动,橡胶板和挡板位于管道材料的左右两侧,通过橡胶板和圆槽右侧伸缩弹簧对管道材料的弹力作用,减小了管道材料对左右侧板的碰撞,从而防止左右侧板发生形板,进而便于管道材料的运输。

交易流程

  • 平台资深顾问将根据买家的需求,提供一对一服务,协助买家挑选到合适的专利。

  • 待买家确认无误后,根据顾问指导进行下单,并签订协议与合同,买家需要支付50%交易款给平台。

  • 平台将负责办理官方变更手续,向国知局提交转让材料。

  • 约10个工作日左右,待买家确认收到专利《变更手续合格通知书》后,向平台支付剩余交易款。

  • 转让成功后,平台会将专利证书原件、专利登记簿副本原件邮寄给买家,同时把交易尾款支付给卖家,保障双方交易顺利。

过户资料

主体资格 转让方提供 受让方提供 平台提供 转让完成,可获得
自然人 身份证复印件,专利证书原件; 身份证复印件
有效个体营业执照
转让申请书
代理委托书
转让协议书
发明人变更声明
专利证书
手续合格通知书
专利登记簿副本
公司 有效的企业营业执照副本复印件,专利证书原件 有效的企业营业执照副本复印件;企业组织机构代码证
平台专属代理事务所将对委托交易全程监督,确保所有交易合同及相关文件合法有效。

发布求购信息