当前位置: 首页 > 知识产权交易 > 专利转让 >

待交易一种建筑用布线装置

专利号:202021249976X 已授权

申请日:2020-07-01发布日期:2022-08-02

立即收藏 立即询价 转让价格:询价

专利摘要

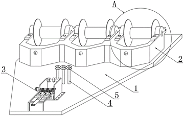
本实用新型为一种建筑用布线装置,具体涉及布线工程技术领域,包括底板,所述底板的上表面后端安装有线缆支撑构件,所述底板的上表面前端安装有线缆导出构件,所述底板的上表面位于线缆导出构件的后方位置处焊接有支撑杆,所述支撑杆的上表面焊接有第一理线轮,所述线缆支撑构件的前表面开设有线孔,所述线缆支撑构件的内部安装有线圈,所述线圈的上方位于线缆支撑构件的上表面位置处转动连接有固定转板,所述线缆导出构件的一侧外表面下端焊接有固定板。目前市场上的建筑用布线装置,能便捷的对线路进行整理,能根据布线情况进行多条线路的同时布线整理,本装置的体积较小,结构简单。

交易流程

  • 平台资深顾问将根据买家的需求,提供一对一服务,协助买家挑选到合适的专利。

  • 待买家确认无误后,根据顾问指导进行下单,并签订协议与合同,买家需要支付50%交易款给平台。

  • 平台将负责办理官方变更手续,向国知局提交转让材料。

  • 约10个工作日左右,待买家确认收到专利《变更手续合格通知书》后,向平台支付剩余交易款。

  • 转让成功后,平台会将专利证书原件、专利登记簿副本原件邮寄给买家,同时把交易尾款支付给卖家,保障双方交易顺利。

过户资料

主体资格 转让方提供 受让方提供 平台提供 转让完成,可获得
自然人 身份证复印件,专利证书原件; 身份证复印件
有效个体营业执照
转让申请书
代理委托书
转让协议书
发明人变更声明
专利证书
手续合格通知书
专利登记簿副本
公司 有效的企业营业执照副本复印件,专利证书原件 有效的企业营业执照副本复印件;企业组织机构代码证
平台专属代理事务所将对委托交易全程监督,确保所有交易合同及相关文件合法有效。

发布求购信息