当前位置: 首页 > 知识产权交易 > 专利转让 >

待交易一种建筑设备安装用支撑架

专利号:2020212481802 已授权

申请日:2020-07-01发布日期:2022-08-01

立即收藏 立即询价 转让价格:询价

专利摘要

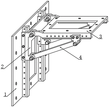
本实用新型为一种建筑设备安装用支撑架,具体涉及建筑设备技术领域,包括支架安装板,所述支架安装板的一侧外表面滑动连接有高度调节构件,所述高度调节构件的一侧上端外表面转动连接有设备安装支撑板,所述设备安装支撑板的下表面安装有支撑构件,所述支架安装板的一侧外表面开设有减重口,所述支架安装板的一侧外表面焊接有第一滑轨,所述第一滑轨的前表面开设有高度调节孔,所述高度调节构件的一侧外表面焊接有滑板,所述滑板的内部开设有第一滑槽。本实用新型建筑设备安装用支撑架,能便捷的调节支撑架的仰角与俯角,本装置的连接处设置有多个固定点,本支撑架的连接较为灵活。

交易流程

  • 平台资深顾问将根据买家的需求,提供一对一服务,协助买家挑选到合适的专利。

  • 待买家确认无误后,根据顾问指导进行下单,并签订协议与合同,买家需要支付50%交易款给平台。

  • 平台将负责办理官方变更手续,向国知局提交转让材料。

  • 约10个工作日左右,待买家确认收到专利《变更手续合格通知书》后,向平台支付剩余交易款。

  • 转让成功后,平台会将专利证书原件、专利登记簿副本原件邮寄给买家,同时把交易尾款支付给卖家,保障双方交易顺利。

过户资料

主体资格 转让方提供 受让方提供 平台提供 转让完成,可获得
自然人 身份证复印件,专利证书原件; 身份证复印件
有效个体营业执照
转让申请书
代理委托书
转让协议书
发明人变更声明
专利证书
手续合格通知书
专利登记簿副本
公司 有效的企业营业执照副本复印件,专利证书原件 有效的企业营业执照副本复印件;企业组织机构代码证
平台专属代理事务所将对委托交易全程监督,确保所有交易合同及相关文件合法有效。

发布求购信息