当前位置: 首页 > 知识产权交易 > 专利转让 >

待交易可进行水果去核预粉碎的榨汁前处理装置及其使用方法

专利号:2020114312733 已授权

申请日:2022-07-28发布日期:2022-07-28

立即收藏 立即询价 转让价格:询价

专利摘要

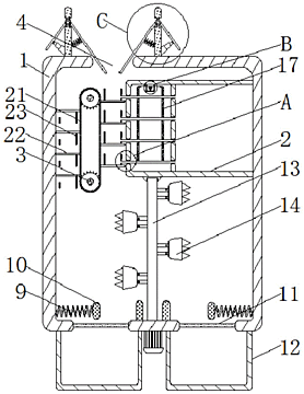
本发明涉及水果加工技术领域,且公开了可进行水果去核预粉碎的榨汁前处理装置及其使用方法,包括外壳一、外壳二和齿轮一,所述外壳一的顶部表面开设有进料孔,外壳一的顶部固定连接有进料管,进料管的外部固定连接有伸缩杆,伸缩杆的顶部活动连接有转板,进料管的内侧固定连接有弹簧一,外壳一的内部固定连接有弹簧二;通过进料孔、进料管、伸缩杆、转板、弹簧一之间的相互作用下,通过调节伸缩杆,进而可以调节转板连接有弹簧一的底端的角度,这样就可以使机器在进行果类分类时,挑选出最适合榨汁形状的水果,并且可以通过伸缩杆的小幅度伸缩,可以使转板不断的震动,这样就可以避免由于水果过多导致的进料口的堵塞。

交易流程

  • 平台资深顾问将根据买家的需求,提供一对一服务,协助买家挑选到合适的专利。

  • 待买家确认无误后,根据顾问指导进行下单,并签订协议与合同,买家需要支付50%交易款给平台。

  • 平台将负责办理官方变更手续,向国知局提交转让材料。

  • 约10个工作日左右,待买家确认收到专利《变更手续合格通知书》后,向平台支付剩余交易款。

  • 转让成功后,平台会将专利证书原件、专利登记簿副本原件邮寄给买家,同时把交易尾款支付给卖家,保障双方交易顺利。

过户资料

主体资格 转让方提供 受让方提供 平台提供 转让完成,可获得
自然人 身份证复印件,专利证书原件; 身份证复印件
有效个体营业执照
转让申请书
代理委托书
转让协议书
发明人变更声明
专利证书
手续合格通知书
专利登记簿副本
公司 有效的企业营业执照副本复印件,专利证书原件 有效的企业营业执照副本复印件;企业组织机构代码证
平台专属代理事务所将对委托交易全程监督,确保所有交易合同及相关文件合法有效。

发布求购信息