当前位置: 首页 > 知识产权交易 > 专利转让 >

待交易一种饲料灌装机用出料装置

专利号:2021100529725 已授权

申请日:2021-01-15发布日期:2022-07-28

立即收藏 立即询价 转让价格:询价

专利摘要

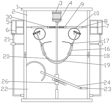
本发明公开了一种饲料灌装机用出料装置,属于饲料加工技术领域,解决了现有装置旋风分离器收集粉渣时,容易把颗粒状饲料抽入集尘罩中的问题;其技术特征是:包括壳体,壳体内设置有出料腔,出料腔的下方设置有灰尘收集腔,壳体的上表面对称设置有多个用于进料的进料口,壳体右侧壁的底部设置有排料口,出料腔的中部设置有筛选组件,筛选组件的两侧对称设置有摆动组件,摆动组件连接有驱动组件,驱动组件设置在出料腔的顶部;本发明实施例设置了筛选组件,筛选组件的设置实现了对饲料的充分筛选,避免了现有装置旋风分离器收集粉渣时,容易把颗粒状饲料抽入集尘罩中,导致饲料和粉渣混合,进而影响了饲料的洁净度的问题。

交易流程

  • 平台资深顾问将根据买家的需求,提供一对一服务,协助买家挑选到合适的专利。

  • 待买家确认无误后,根据顾问指导进行下单,并签订协议与合同,买家需要支付50%交易款给平台。

  • 平台将负责办理官方变更手续,向国知局提交转让材料。

  • 约10个工作日左右,待买家确认收到专利《变更手续合格通知书》后,向平台支付剩余交易款。

  • 转让成功后,平台会将专利证书原件、专利登记簿副本原件邮寄给买家,同时把交易尾款支付给卖家,保障双方交易顺利。

过户资料

主体资格 转让方提供 受让方提供 平台提供 转让完成,可获得
自然人 身份证复印件,专利证书原件; 身份证复印件
有效个体营业执照
转让申请书
代理委托书
转让协议书
发明人变更声明
专利证书
手续合格通知书
专利登记簿副本
公司 有效的企业营业执照副本复印件,专利证书原件 有效的企业营业执照副本复印件;企业组织机构代码证
平台专属代理事务所将对委托交易全程监督,确保所有交易合同及相关文件合法有效。

发布求购信息