当前位置: 首页 > 知识产权交易 > 专利转让 >

待交易一种森林火灾隔离保水装置及其使用方法

专利号:202111000864X 已授权

申请日:2020-10-20发布日期:2022-07-28

立即收藏 立即询价 转让价格:询价

专利摘要

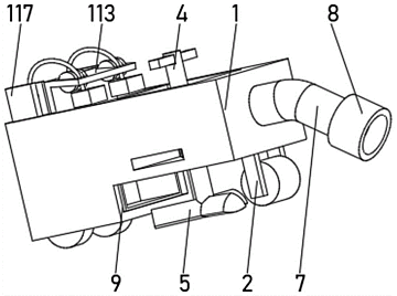
本发明公开了一种森林火灾隔离保水装置及其使用方法,涉及森林消防设备技术领域,包括主体框,所述主体框的底部安装有行走轮,所述主体框的顶部开设有搅拌槽,所述搅拌槽的内侧底部安装有搅拌辊,所述搅拌辊的底部贯穿主体框并且延伸至主体框的外部,所述搅拌辊的底部一端均匀安装有粉碎刀,所述行走轮之间的距离小于粉碎刀的长度,所述搅拌辊的顶部一端安装有搅拌装置。该森林火灾隔离保水装置,能够减少占用的体积,保证能够携带较多的水进行灭火,能够随时补充灭火材料,现场取材使用,增加了长时间灭火的能力,能够适应各种复杂的地形,装置的适用范围广,可以自动补充灭火材料,降低了操作难度,提高了智能化程度。

交易流程

  • 平台资深顾问将根据买家的需求,提供一对一服务,协助买家挑选到合适的专利。

  • 待买家确认无误后,根据顾问指导进行下单,并签订协议与合同,买家需要支付50%交易款给平台。

  • 平台将负责办理官方变更手续,向国知局提交转让材料。

  • 约10个工作日左右,待买家确认收到专利《变更手续合格通知书》后,向平台支付剩余交易款。

  • 转让成功后,平台会将专利证书原件、专利登记簿副本原件邮寄给买家,同时把交易尾款支付给卖家,保障双方交易顺利。

过户资料

主体资格 转让方提供 受让方提供 平台提供 转让完成,可获得
自然人 身份证复印件,专利证书原件; 身份证复印件
有效个体营业执照
转让申请书
代理委托书
转让协议书
发明人变更声明
专利证书
手续合格通知书
专利登记簿副本
公司 有效的企业营业执照副本复印件,专利证书原件 有效的企业营业执照副本复印件;企业组织机构代码证
平台专属代理事务所将对委托交易全程监督,确保所有交易合同及相关文件合法有效。

发布求购信息