当前位置: 首页 > 知识产权交易 > 专利转让 >

待交易一种畜牧业牧草用液体氮肥喷洒装置

专利号:2020115392970 已授权

申请日:2020-12-23发布日期:2022-07-28

立即收藏 立即询价 转让价格:询价

专利摘要

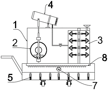
本发明涉及畜牧业技术领域,尤其涉及一种畜牧业牧草用液体氮肥喷洒装置,包括底板和设置在所述底板上方的箱体,所述箱体的内部固定安装有上下摆动装置和供液箱,且所述上下摆动装置的上方连接有设置在所述箱体上表面的喷洒装置,所述上下摆动装置包括固定安装在所述箱体内壁上的内齿轮,且所述内齿轮的内部设置有转动安装在所述箱体内壁上的第一齿轮,所述第一齿轮通过连杆连接有第二齿轮。本发明使用时,通过设置上下摆动装置便于带动喷洒装置进行上下移动,通过设置供液箱便于对喷洒装置进行供液,通过第一齿轮转动,进而带动第二齿轮进行转动,同时带动圆柱进行转动。

交易流程

  • 平台资深顾问将根据买家的需求,提供一对一服务,协助买家挑选到合适的专利。

  • 待买家确认无误后,根据顾问指导进行下单,并签订协议与合同,买家需要支付50%交易款给平台。

  • 平台将负责办理官方变更手续,向国知局提交转让材料。

  • 约10个工作日左右,待买家确认收到专利《变更手续合格通知书》后,向平台支付剩余交易款。

  • 转让成功后,平台会将专利证书原件、专利登记簿副本原件邮寄给买家,同时把交易尾款支付给卖家,保障双方交易顺利。

过户资料

主体资格 转让方提供 受让方提供 平台提供 转让完成,可获得
自然人 身份证复印件,专利证书原件; 身份证复印件
有效个体营业执照
转让申请书
代理委托书
转让协议书
发明人变更声明
专利证书
手续合格通知书
专利登记簿副本
公司 有效的企业营业执照副本复印件,专利证书原件 有效的企业营业执照副本复印件;企业组织机构代码证
平台专属代理事务所将对委托交易全程监督,确保所有交易合同及相关文件合法有效。

发布求购信息