当前位置: 首页 > 知识产权交易 > 专利转让 >

待交易一种用于固体废弃物环保处理的装置

专利号:2020114825842 已授权

申请日:2020-12-16发布日期:2022-07-27

立即收藏 立即询价 转让价格:询价

专利摘要

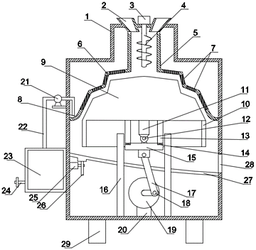
本发明涉及环保废弃物处理领域,具体是一种用于固体废弃物环保处理的装置,包括分离结构,通过分离结构将固体废弃物中的固体和液体分离,其中分离结构包括挤压板和旋转座,本发明通过升降结构带动旋转座与挤压板接触挤压分离固体废弃物内含有的液体,挤压板上用于过滤分离的液体的过滤件,旋转座和挤压板均设置为多层阶梯式,经过上一层分离作业的固体废弃物输送至下一层再次分离,该装置还设有用于收集液体的收集结构和用于输送固体废弃物的输送结构,避免了现有固体废弃物液体收集常通过一次进料进行挤压分离,在分离后再分别收集其中的固体和液体后进行下次的进料分离作业,无法通过分离装置进行连续不间断进料作业,降低了作业的效率。

交易流程

  • 平台资深顾问将根据买家的需求,提供一对一服务,协助买家挑选到合适的专利。

  • 待买家确认无误后,根据顾问指导进行下单,并签订协议与合同,买家需要支付50%交易款给平台。

  • 平台将负责办理官方变更手续,向国知局提交转让材料。

  • 约10个工作日左右,待买家确认收到专利《变更手续合格通知书》后,向平台支付剩余交易款。

  • 转让成功后,平台会将专利证书原件、专利登记簿副本原件邮寄给买家,同时把交易尾款支付给卖家,保障双方交易顺利。

过户资料

主体资格 转让方提供 受让方提供 平台提供 转让完成,可获得
自然人 身份证复印件,专利证书原件; 身份证复印件
有效个体营业执照
转让申请书
代理委托书
转让协议书
发明人变更声明
专利证书
手续合格通知书
专利登记簿副本
公司 有效的企业营业执照副本复印件,专利证书原件 有效的企业营业执照副本复印件;企业组织机构代码证
平台专属代理事务所将对委托交易全程监督,确保所有交易合同及相关文件合法有效。

发布求购信息