当前位置: 首页 > 知识产权交易 > 专利转让 >

待交易一种用于环保工程的除草装置

专利号:2021100525211 已授权

申请日:2021-01-15发布日期:2022-07-25

立即收藏 立即询价 转让价格:询价

专利摘要

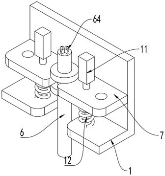
本发明公开了一种用于环保工程的除草装置,包括机架以及设置在机架上的驱动机构、连接块、传动轴和切割刀轮,所述驱动机构固定在机架的顶部,所述驱动机构的底部通过连接块与传动轴相连,所述连接块安装在机架上,所述传动轴的底部与切割刀轮相连;所述连接块包括连接块本体、第一轴肩和连接头;本装置通过驱动机构进行驱动,带动传动轴底部的切割刀轮对底部地面上的杂草进行切割清除,避免切割后的草料飞散,对周边环境造成破坏;当装置处于长期不使用状态或者需要临时保养时,工作人员可以利用传动轴与底部的切割刀轮通过过渡平台的U形槽进行手动拆除,使得本装置可以对经常使用的切割刀轮可以起到很好的保养作用,同时也便于操作节省人力物力。

交易流程

  • 平台资深顾问将根据买家的需求,提供一对一服务,协助买家挑选到合适的专利。

  • 待买家确认无误后,根据顾问指导进行下单,并签订协议与合同,买家需要支付50%交易款给平台。

  • 平台将负责办理官方变更手续,向国知局提交转让材料。

  • 约10个工作日左右,待买家确认收到专利《变更手续合格通知书》后,向平台支付剩余交易款。

  • 转让成功后,平台会将专利证书原件、专利登记簿副本原件邮寄给买家,同时把交易尾款支付给卖家,保障双方交易顺利。

过户资料

主体资格 转让方提供 受让方提供 平台提供 转让完成,可获得
自然人 身份证复印件,专利证书原件; 身份证复印件
有效个体营业执照
转让申请书
代理委托书
转让协议书
发明人变更声明
专利证书
手续合格通知书
专利登记簿副本
公司 有效的企业营业执照副本复印件,专利证书原件 有效的企业营业执照副本复印件;企业组织机构代码证
平台专属代理事务所将对委托交易全程监督,确保所有交易合同及相关文件合法有效。

发布求购信息