当前位置: 首页 > 知识产权交易 > 专利转让 >

待交易一种鱼苗筛选系统及其方法

专利号:2021101292609 已授权

申请日:2021-01-29发布日期:2022-07-25

立即收藏 立即询价 转让价格:询价

专利摘要

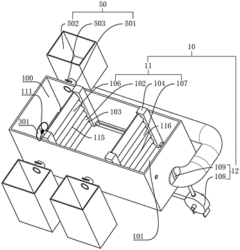
本发明公开了一种鱼苗筛选系统及其方法,涉及水产养殖领域,其技术方案要点是针对鱼苗筛选设置的一套通过旋涡泵作用使水流带动百叶窗式栅格筛选鱼苗系统以及通过鱼苗筛选系统的鱼苗筛选方法为a、鱼苗输入,b、鱼苗消毒,c、鱼苗筛选,d、鱼苗输出,e、鱼苗培养,f、二次筛选,技术效果是,鱼苗通过水流和不同荧光灯引导式游过筛选装置进行筛选,无需人工移动筛选装置进行筛选,无需将筛选完的鱼捞起,自行输出鱼苗,对鱼苗损伤小,不会造成缺氧,存活率高。

交易流程

  • 平台资深顾问将根据买家的需求,提供一对一服务,协助买家挑选到合适的专利。

  • 待买家确认无误后,根据顾问指导进行下单,并签订协议与合同,买家需要支付50%交易款给平台。

  • 平台将负责办理官方变更手续,向国知局提交转让材料。

  • 约10个工作日左右,待买家确认收到专利《变更手续合格通知书》后,向平台支付剩余交易款。

  • 转让成功后,平台会将专利证书原件、专利登记簿副本原件邮寄给买家,同时把交易尾款支付给卖家,保障双方交易顺利。

过户资料

主体资格 转让方提供 受让方提供 平台提供 转让完成,可获得
自然人 身份证复印件,专利证书原件; 身份证复印件
有效个体营业执照
转让申请书
代理委托书
转让协议书
发明人变更声明
专利证书
手续合格通知书
专利登记簿副本
公司 有效的企业营业执照副本复印件,专利证书原件 有效的企业营业执照副本复印件;企业组织机构代码证
平台专属代理事务所将对委托交易全程监督,确保所有交易合同及相关文件合法有效。

发布求购信息