当前位置: 首页 > 知识产权交易 > 专利转让 >

待交易用于种子质量的分选装置及分选方法

专利号:2021103828470 已授权

申请日:2021-04-09发布日期:2022-07-25

立即收藏 立即询价 转让价格:询价

专利摘要

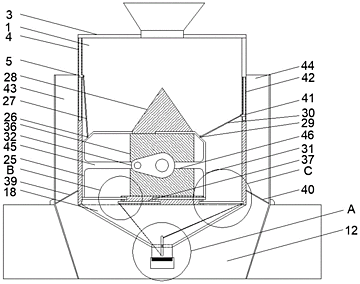
本发明公开了用于种子质量的分选装置及分选方法,包括漏斗,花生分离箱上端中间位置固定连接有漏斗,且漏斗的左侧花生分离箱上活动连接有上端盖,上端盖的下端花生分离箱上固定连接有左挡板,左挡板的下端花生分离箱内部固定连接有大吊耳一,花生分离箱左端的下侧开设有左滑槽,且左滑槽的下端花生分离箱上固定连接有左收集箱,花生分离箱前端中间位置固定连接有伺服电机,且伺服电机的下端花生分离箱上开设有中间滑槽,花生分离箱右端的下侧开设有右滑槽。本发明在原有机械分筛的基础上,后续加入通过花生在一定水密度下下沉的物理特性来对种子进行筛分,以分离出经过振动筛选后依旧无法分离出的干瘪、残缺或者颗粒较小的种子。

交易流程

  • 平台资深顾问将根据买家的需求,提供一对一服务,协助买家挑选到合适的专利。

  • 待买家确认无误后,根据顾问指导进行下单,并签订协议与合同,买家需要支付50%交易款给平台。

  • 平台将负责办理官方变更手续,向国知局提交转让材料。

  • 约10个工作日左右,待买家确认收到专利《变更手续合格通知书》后,向平台支付剩余交易款。

  • 转让成功后,平台会将专利证书原件、专利登记簿副本原件邮寄给买家,同时把交易尾款支付给卖家,保障双方交易顺利。

过户资料

主体资格 转让方提供 受让方提供 平台提供 转让完成,可获得
自然人 身份证复印件,专利证书原件; 身份证复印件
有效个体营业执照
转让申请书
代理委托书
转让协议书
发明人变更声明
专利证书
手续合格通知书
专利登记簿副本
公司 有效的企业营业执照副本复印件,专利证书原件 有效的企业营业执照副本复印件;企业组织机构代码证
平台专属代理事务所将对委托交易全程监督,确保所有交易合同及相关文件合法有效。

发布求购信息