当前位置: 首页 > 知识产权交易 > 专利转让 >

待交易基于交叉固定式新能源汽车座椅安全带

专利号:2021100913876 已授权

申请日:2021-01-23发布日期:2022-07-25

立即收藏 立即询价 转让价格:询价

专利摘要

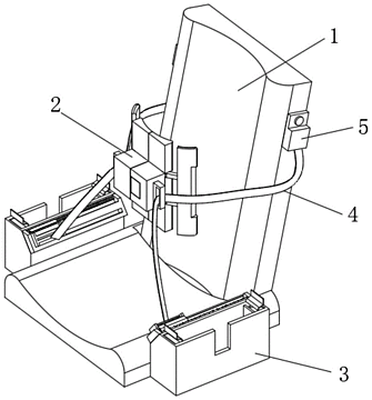
本发明涉及安全带固定技术领域,具体地说,涉及基于交叉固定式新能源汽车座椅安全带。其包括座椅,座椅的一侧靠近中部的位置设置有前胸防护连接装置,座椅底部的左右两侧对称设置有放置连接装置,座椅的左右两侧对称设置有安全带和设置在安全带一端的卷收器;前胸防护连接装置包括连接装置,连接装置的一侧设置有胸部承接装置,连接装置包括连接插头和设置在连接插头一侧的卡位装置,连接插头包括成方形的连接块,连接块的一侧固定连接有内部开设有通口的插板,卡位装置包括呈方形的卡位外壳,卡位外壳的内部设有卡定装置。本发明主要解决当汽车发生事故时,汽车的安全带无法对儿童进行防护,从而造成对儿童的伤害的问题。

交易流程

  • 平台资深顾问将根据买家的需求,提供一对一服务,协助买家挑选到合适的专利。

  • 待买家确认无误后,根据顾问指导进行下单,并签订协议与合同,买家需要支付50%交易款给平台。

  • 平台将负责办理官方变更手续,向国知局提交转让材料。

  • 约10个工作日左右,待买家确认收到专利《变更手续合格通知书》后,向平台支付剩余交易款。

  • 转让成功后,平台会将专利证书原件、专利登记簿副本原件邮寄给买家,同时把交易尾款支付给卖家,保障双方交易顺利。

过户资料

主体资格 转让方提供 受让方提供 平台提供 转让完成,可获得
自然人 身份证复印件,专利证书原件; 身份证复印件
有效个体营业执照
转让申请书
代理委托书
转让协议书
发明人变更声明
专利证书
手续合格通知书
专利登记簿副本
公司 有效的企业营业执照副本复印件,专利证书原件 有效的企业营业执照副本复印件;企业组织机构代码证
平台专属代理事务所将对委托交易全程监督,确保所有交易合同及相关文件合法有效。

发布求购信息