当前位置: 首页 > 知识产权交易 > 专利转让 >

待交易一种化工原料烘干装置

专利号:2019109896239 已授权

申请日:2019-10-17发布日期:2022-07-25

立即收藏 立即询价 转让价格:询价

专利摘要

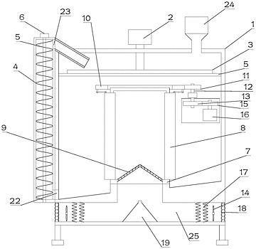
本发明公开了一种化工原料烘干装置,涉及化工设备技术领域;包括烘干主体,烘干主体上设置有分料板,刮料板贴置在分料板上,且转动安装在烘干主体上;分料板底部设置有分气机构;分气机构包括固定安装烘干主体中心位置的分气筒,分气筒为圆筒状,且上端密闭;分气筒上阵列设置有多个出气口,出气口上设置有弧形板,弧形板一端铰接在出气口上,另一端通过连杆连接在圆环上,连杆两端分别铰接在弧形板和圆环内环上;圆环上设置有驱动其间歇转动的转动机构;转动机构固定安装在烘干主体内部;分气筒底部与烘干主体上的加热管道连通,加热管道设置在烘干主体底部。本发明很好的实现了对原料的烘干。

交易流程

  • 平台资深顾问将根据买家的需求,提供一对一服务,协助买家挑选到合适的专利。

  • 待买家确认无误后,根据顾问指导进行下单,并签订协议与合同,买家需要支付50%交易款给平台。

  • 平台将负责办理官方变更手续,向国知局提交转让材料。

  • 约10个工作日左右,待买家确认收到专利《变更手续合格通知书》后,向平台支付剩余交易款。

  • 转让成功后,平台会将专利证书原件、专利登记簿副本原件邮寄给买家,同时把交易尾款支付给卖家,保障双方交易顺利。

过户资料

主体资格 转让方提供 受让方提供 平台提供 转让完成,可获得
自然人 身份证复印件,专利证书原件; 身份证复印件
有效个体营业执照
转让申请书
代理委托书
转让协议书
发明人变更声明
专利证书
手续合格通知书
专利登记簿副本
公司 有效的企业营业执照副本复印件,专利证书原件 有效的企业营业执照副本复印件;企业组织机构代码证
平台专属代理事务所将对委托交易全程监督,确保所有交易合同及相关文件合法有效。

发布求购信息