当前位置: 首页 > 知识产权交易 > 专利转让 >

待交易 一种植物果实采摘装置

专利号:2020111225682 已授权

申请日:2020-10-20发布日期:2022-07-22

立即收藏 立即询价 转让价格:询价

专利摘要

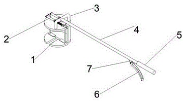
本发明公开了一种植物果实采摘装置,包括采摘桶、夹紧装置、立架、连接杆、把套、手把、控制线,所述采摘桶上端水平安装有夹紧装置,所述采摘桶上端右侧竖直固定有立架,且立架右端上部水平固定有连接杆,所述连接杆为空心管结构,且连接杆右侧水平套接有握把套,所述连接杆下端右侧铰接有手把,所述控制线右端与手把左端固定连接。本发明架构简单,安装有连接杆,可以避免操作者因为植物高度问题弯腰操作,提高了操作时的舒适性,通过手把操控的方式更加简单方便,方形旋转体可以使两个滑块同时移动,提高了切断时的效率和准确性,果实采摘暂时存放在采摘桶内部,防止了采摘后落地,再次捡起更加省事省力。

交易流程

  • 平台资深顾问将根据买家的需求,提供一对一服务,协助买家挑选到合适的专利。

  • 待买家确认无误后,根据顾问指导进行下单,并签订协议与合同,买家需要支付50%交易款给平台。

  • 平台将负责办理官方变更手续,向国知局提交转让材料。

  • 约10个工作日左右,待买家确认收到专利《变更手续合格通知书》后,向平台支付剩余交易款。

  • 转让成功后,平台会将专利证书原件、专利登记簿副本原件邮寄给买家,同时把交易尾款支付给卖家,保障双方交易顺利。

过户资料

主体资格 转让方提供 受让方提供 平台提供 转让完成,可获得
自然人 身份证复印件,专利证书原件; 身份证复印件
有效个体营业执照
转让申请书
代理委托书
转让协议书
发明人变更声明
专利证书
手续合格通知书
专利登记簿副本
公司 有效的企业营业执照副本复印件,专利证书原件 有效的企业营业执照副本复印件;企业组织机构代码证
平台专属代理事务所将对委托交易全程监督,确保所有交易合同及相关文件合法有效。

发布求购信息