当前位置: 首页 > 知识产权交易 > 专利转让 >

待交易一种农业生产用多变化调节型驱鸟装置

专利号:2021106237326 已授权

申请日:2021-06-04发布日期:2022-07-21

立即收藏 立即询价 转让价格:询价

专利摘要

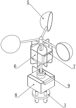
本发明公开了一种农业生产用多变化调节型驱鸟装置,包括固定板,所述晃动筒顶端固定安装有安装框,所述安装框内部底端固定安装有带动电机,所述带动电机输出轴固定安装有齿轮传动机构,所述齿轮传动机构顶端固定安装有转动筒,所述推动环活动安装于带动筒底端,所述带动筒底面对应三角杆位置处开设有三角槽,所述安装框顶面通过螺钉安装有封闭盖,所述带动筒外侧底端固定套接有齿环,与现有技术相比,本发明的有益效果,可以实现有风和无风的切换,保证了可以持续进行驱鸟,从而避免了现有装置中在无风调节下无法对鸟驱赶的问题出现,可以在转动叶转动的同时,可以发出声响,从而可以进一步对鸟驱赶。

交易流程

  • 平台资深顾问将根据买家的需求,提供一对一服务,协助买家挑选到合适的专利。

  • 待买家确认无误后,根据顾问指导进行下单,并签订协议与合同,买家需要支付50%交易款给平台。

  • 平台将负责办理官方变更手续,向国知局提交转让材料。

  • 约10个工作日左右,待买家确认收到专利《变更手续合格通知书》后,向平台支付剩余交易款。

  • 转让成功后,平台会将专利证书原件、专利登记簿副本原件邮寄给买家,同时把交易尾款支付给卖家,保障双方交易顺利。

过户资料

主体资格 转让方提供 受让方提供 平台提供 转让完成,可获得
自然人 身份证复印件,专利证书原件; 身份证复印件
有效个体营业执照
转让申请书
代理委托书
转让协议书
发明人变更声明
专利证书
手续合格通知书
专利登记簿副本
公司 有效的企业营业执照副本复印件,专利证书原件 有效的企业营业执照副本复印件;企业组织机构代码证
平台专属代理事务所将对委托交易全程监督,确保所有交易合同及相关文件合法有效。

发布求购信息