当前位置: 首页 > 知识产权交易 > 专利转让 >

待交易一种木材批量碎化设备

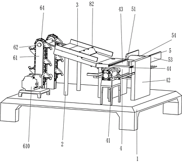
专利号:2020112609552 已授权

申请日:2020-11-12发布日期:2022-07-20

立即收藏 立即询价 转让价格:询价

专利摘要

本发明涉及一种碎化设备,尤其涉及一种木材批量碎化设备。技术问题是如何一种能方便人们对木材进行碎化,比较省力,工作效率高,且不易受伤的木材批量碎化设备。一种木材批量碎化设备,包括有:底座,底座一侧安装有四根支撑柱;上料平台,上料平台安装在四根支撑柱之间;推料机构,安装在底座上,用于将木材进行碎化。本发明通过将木材放置于上料机构上,启动上料机构运作通过上料平台上,进而木材掉落至推料机构内,启动推料机构运作,将木材进行碎化,且推料机构运作还带动回料机构运作,回料机构运作将未碎化木材推回至推料机构再次被碎化,如此,可方便人们对木材进行碎化,省时省力,工作效率高。

交易流程

  • 平台资深顾问将根据买家的需求,提供一对一服务,协助买家挑选到合适的专利。

  • 待买家确认无误后,根据顾问指导进行下单,并签订协议与合同,买家需要支付50%交易款给平台。

  • 平台将负责办理官方变更手续,向国知局提交转让材料。

  • 约10个工作日左右,待买家确认收到专利《变更手续合格通知书》后,向平台支付剩余交易款。

  • 转让成功后,平台会将专利证书原件、专利登记簿副本原件邮寄给买家,同时把交易尾款支付给卖家,保障双方交易顺利。

过户资料

主体资格 转让方提供 受让方提供 平台提供 转让完成,可获得
自然人 身份证复印件,专利证书原件; 身份证复印件
有效个体营业执照
转让申请书
代理委托书
转让协议书
发明人变更声明
专利证书
手续合格通知书
专利登记簿副本
公司 有效的企业营业执照副本复印件,专利证书原件 有效的企业营业执照副本复印件;企业组织机构代码证
平台专属代理事务所将对委托交易全程监督,确保所有交易合同及相关文件合法有效。

发布求购信息