当前位置: 首页 > 知识产权交易 > 专利转让 >

待交易一种花生脱粒装置

专利号:201911020453X 已授权

申请日:2019-10-25发布日期:2022-07-20

立即收藏 立即询价 转让价格:询价

专利摘要

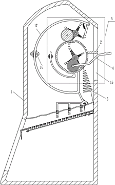
本发明涉及一种脱粒装置,尤其涉及一种花生脱粒装置。本发明的技术问题是如何提供一种能够快速对花生进行脱粒,能够对花生根茎进行分离的花生脱粒装置。一种花生脱粒装置,包括有箱体和固定板等;箱体的底部左侧和上部右侧都开有开孔,箱体的右部开孔处固定连接有固定板。本发明通过摁压第一摆动杆,通过第一齿轮和第二齿轮进行传送,从而带动转盘上的伸缩脱粒装置对放置在固定板上的花生进行挤压脱落,还通过第三摆动杆和挂钩使第二刀片与第一刀片配合,从而达到对花生根茎进行去除的功能。

交易流程

  • 平台资深顾问将根据买家的需求,提供一对一服务,协助买家挑选到合适的专利。

  • 待买家确认无误后,根据顾问指导进行下单,并签订协议与合同,买家需要支付50%交易款给平台。

  • 平台将负责办理官方变更手续,向国知局提交转让材料。

  • 约10个工作日左右,待买家确认收到专利《变更手续合格通知书》后,向平台支付剩余交易款。

  • 转让成功后,平台会将专利证书原件、专利登记簿副本原件邮寄给买家,同时把交易尾款支付给卖家,保障双方交易顺利。

过户资料

主体资格 转让方提供 受让方提供 平台提供 转让完成,可获得
自然人 身份证复印件,专利证书原件; 身份证复印件
有效个体营业执照
转让申请书
代理委托书
转让协议书
发明人变更声明
专利证书
手续合格通知书
专利登记簿副本
公司 有效的企业营业执照副本复印件,专利证书原件 有效的企业营业执照副本复印件;企业组织机构代码证
平台专属代理事务所将对委托交易全程监督,确保所有交易合同及相关文件合法有效。

发布求购信息