当前位置: 首页 > 知识产权交易 > 专利转让 >

待交易一种自动苹果去核装置

专利号:2020100439758 已授权

申请日:2020-01-15发布日期:2022-07-20

立即收藏 立即询价 转让价格:询价

专利摘要

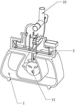
本发明涉及一种去核装置,尤其涉及一种自动苹果去核装置。本发明的技术问题是如何能提供一种能够自动取出和固定苹果,并且能自动将苹果去核的自动苹果去核装置。一种自动苹果去核装置,包括有底板、固定框、第一滑动杆、第一夹紧盘、第二滑动杆、第二夹紧盘、去核刀、苹果盒等;所述底板上固接有固定框,所述固定框一侧滑动配合有第一滑动杆,所述第一滑动杆端部固接有第一夹紧盘,远离所述第一滑动杆一侧固定框上滑动配合有第二滑动杆。本发明设置了夹紧盘,无需人工手持苹果,避免了工人在给苹果去核时受伤,也使得苹果的加工更加的安全和卫生。

交易流程

  • 平台资深顾问将根据买家的需求,提供一对一服务,协助买家挑选到合适的专利。

  • 待买家确认无误后,根据顾问指导进行下单,并签订协议与合同,买家需要支付50%交易款给平台。

  • 平台将负责办理官方变更手续,向国知局提交转让材料。

  • 约10个工作日左右,待买家确认收到专利《变更手续合格通知书》后,向平台支付剩余交易款。

  • 转让成功后,平台会将专利证书原件、专利登记簿副本原件邮寄给买家,同时把交易尾款支付给卖家,保障双方交易顺利。

过户资料

主体资格 转让方提供 受让方提供 平台提供 转让完成,可获得
自然人 身份证复印件,专利证书原件; 身份证复印件
有效个体营业执照
转让申请书
代理委托书
转让协议书
发明人变更声明
专利证书
手续合格通知书
专利登记簿副本
公司 有效的企业营业执照副本复印件,专利证书原件 有效的企业营业执照副本复印件;企业组织机构代码证
平台专属代理事务所将对委托交易全程监督,确保所有交易合同及相关文件合法有效。

发布求购信息