当前位置: 首页 > 知识产权交易 > 专利转让 >

待交易一种利用压力试验机测量岩石热线膨胀系数的装置

专利号:201510182750X 已授权

申请日:2015-04-17发布日期:2022-07-19

立即收藏 立即询价 转让价格:询价

专利摘要

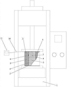
一种利用压力试验机测量岩石热线膨胀系数的装置,包括岩石试样、硅胶加热片加热装置、单轴压力试验机、保温隔热垫、保温隔热层、数显热电偶传感器以及数显热电偶读数器;所述岩石试样的顶面轴心处有圆孔,岩石试样的顶面设有引线槽;硅胶加热片粘贴于岩石试样侧面四周;所述控温热电偶传感器固定在硅胶加热片外侧;硅胶加热片外部包裹有保温隔热层;所述数显热电偶传感器位于圆孔中;所述岩石试样放置于单轴压力试验机上。本发明利用压力试验机测量岩石热线膨胀系数,与现有其他装置相比较,能较好地缩短单次测定所需要的时间,并且不需要考虑加热设备降温的问题,直接可以进行下一个试样的测定,实现工程设计中岩石热线膨胀系数的高效测量。

交易流程

  • 平台资深顾问将根据买家的需求,提供一对一服务,协助买家挑选到合适的专利。

  • 待买家确认无误后,根据顾问指导进行下单,并签订协议与合同,买家需要支付50%交易款给平台。

  • 平台将负责办理官方变更手续,向国知局提交转让材料。

  • 约10个工作日左右,待买家确认收到专利《变更手续合格通知书》后,向平台支付剩余交易款。

  • 转让成功后,平台会将专利证书原件、专利登记簿副本原件邮寄给买家,同时把交易尾款支付给卖家,保障双方交易顺利。

过户资料

主体资格 转让方提供 受让方提供 平台提供 转让完成,可获得
自然人 身份证复印件,专利证书原件; 身份证复印件
有效个体营业执照
转让申请书
代理委托书
转让协议书
发明人变更声明
专利证书
手续合格通知书
专利登记簿副本
公司 有效的企业营业执照副本复印件,专利证书原件 有效的企业营业执照副本复印件;企业组织机构代码证
平台专属代理事务所将对委托交易全程监督,确保所有交易合同及相关文件合法有效。

发布求购信息