当前位置: 首页 > 知识产权交易 > 专利转让 >

待交易 一种新型鼠笼

专利号:2020210929316 已授权

申请日:2020-06-15发布日期:2022-07-13

立即收藏 立即询价 转让价格:询价

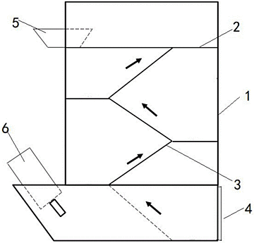
专利摘要

本实用新型公开了一种新型鼠笼,包括鼠笼本体、隔层板、楼梯、开关门、料槽和饮水器,所述鼠笼本体为镂空网笼,所述隔层板将鼠笼由上往下分隔成若干层,所述楼梯设置在鼠笼内部并连通每一层,所述开关门设置在鼠笼本体上,所述料槽固定在最上层的隔层板上,该料槽嵌在鼠笼本体上且一半悬在鼠笼本体外部一半位于鼠笼本体内部,所述饮水器位于鼠笼的最下层,该饮水器的一部分悬在鼠笼外部,且倾斜固定在鼠笼下层的隔层板上。本实用新型可在有限的占地面积的基础上,增加高度,并设置攀爬装置,增加小鼠的运动量。

交易流程

  • 平台资深顾问将根据买家的需求,提供一对一服务,协助买家挑选到合适的专利。

  • 待买家确认无误后,根据顾问指导进行下单,并签订协议与合同,买家需要支付50%交易款给平台。

  • 平台将负责办理官方变更手续,向国知局提交转让材料。

  • 约10个工作日左右,待买家确认收到专利《变更手续合格通知书》后,向平台支付剩余交易款。

  • 转让成功后,平台会将专利证书原件、专利登记簿副本原件邮寄给买家,同时把交易尾款支付给卖家,保障双方交易顺利。

过户资料

主体资格 转让方提供 受让方提供 平台提供 转让完成,可获得
自然人 身份证复印件,专利证书原件; 身份证复印件
有效个体营业执照
转让申请书
代理委托书
转让协议书
发明人变更声明
专利证书
手续合格通知书
专利登记簿副本
公司 有效的企业营业执照副本复印件,专利证书原件 有效的企业营业执照副本复印件;企业组织机构代码证
平台专属代理事务所将对委托交易全程监督,确保所有交易合同及相关文件合法有效。

发布求购信息