当前位置: 首页 > 知识产权交易 > 专利转让 >

待交易一种鸡笼刮粪传送带

专利号:2020210929212 已授权

申请日:2020-06-15发布日期:2022-07-13

立即收藏 立即询价 转让价格:询价

专利摘要

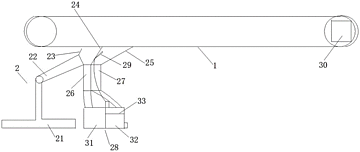
本实用新型公开了一种鸡笼刮粪传送带,包括传送带和刮粪装置,所述传送带通过支架固定在鸡笼的下方,该传送带的两端设有转轴带动传动带转动,所述刮粪装置包括基座、支杆、挡板、鸡粪刮板、清洗刮板、鸡粪通道、清洗通道和收集箱,所述支杆连接在基座上,所述挡板固定在支杆末端,所述挡板、鸡粪刮板、清洗刮板呈一定间隔排列倾斜向上且侧边设置有围板,隔开形成两个上部开口的独立的空间,其中挡板和鸡粪刮板之间形成的空间下方连通鸡粪通道,鸡粪刮板和清洗刮板之间形成的空间下方连通清洗通道,所述鸡粪通道和清洗通道的下端连通收集箱,所述鸡粪刮板上设有水枪,该水枪连通收集箱。本实用新型能够自动清理鸡粪且对传送带进行清洗,简单使用。

交易流程

  • 平台资深顾问将根据买家的需求,提供一对一服务,协助买家挑选到合适的专利。

  • 待买家确认无误后,根据顾问指导进行下单,并签订协议与合同,买家需要支付50%交易款给平台。

  • 平台将负责办理官方变更手续,向国知局提交转让材料。

  • 约10个工作日左右,待买家确认收到专利《变更手续合格通知书》后,向平台支付剩余交易款。

  • 转让成功后,平台会将专利证书原件、专利登记簿副本原件邮寄给买家,同时把交易尾款支付给卖家,保障双方交易顺利。

过户资料

主体资格 转让方提供 受让方提供 平台提供 转让完成,可获得
自然人 身份证复印件,专利证书原件; 身份证复印件
有效个体营业执照
转让申请书
代理委托书
转让协议书
发明人变更声明
专利证书
手续合格通知书
专利登记簿副本
公司 有效的企业营业执照副本复印件,专利证书原件 有效的企业营业执照副本复印件;企业组织机构代码证
平台专属代理事务所将对委托交易全程监督,确保所有交易合同及相关文件合法有效。

发布求购信息