当前位置: 首页 > 知识产权交易 > 专利转让 >

待交易一种农业机械耕地用测量仪

专利号:2020108771741 已授权

申请日:2020-08-27发布日期:2022-05-16

立即收藏 立即询价 转让价格:询价

专利摘要

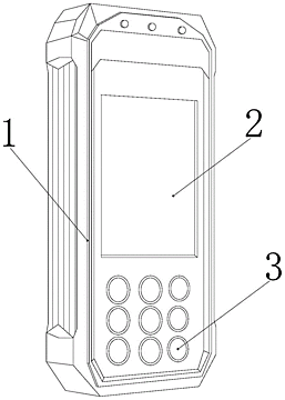
本发明公开了一种农业机械耕地用测量仪,其结构包括壳体、显示屏、键盘,显示屏设在壳体正面,键盘位于显示屏下侧,壳体设有底座、电管、按钮、清除块,由于按钮与壳体内壁的缝隙中,易进入粉尘和小碎石,通过清除块随着按钮的按压而产生气体,气体将按钮与壳体内壁的粉尘往壳体外部吹散,且气体将清除板往上顶,通过卡牙将夹杂的小碎石往上顶,有利于减少按钮与壳体的接触壁的摩擦,减少按钮磨损,有利于按钮与底座相接触对耕地面积检测,由于夏季的温度高,且按钮为橡胶材质易软化,通过侧块与接触杆活动配合,使得侧块内部的叶片上下摆动产生气体,加快按钮周围的空气流通,加快散热,减少按钮温度过高软化有利于按钮与底座配合。

交易流程

  • 平台资深顾问将根据买家的需求,提供一对一服务,协助买家挑选到合适的专利。

  • 待买家确认无误后,根据顾问指导进行下单,并签订协议与合同,买家需要支付50%交易款给平台。

  • 平台将负责办理官方变更手续,向国知局提交转让材料。

  • 约10个工作日左右,待买家确认收到专利《变更手续合格通知书》后,向平台支付剩余交易款。

  • 转让成功后,平台会将专利证书原件、专利登记簿副本原件邮寄给买家,同时把交易尾款支付给卖家,保障双方交易顺利。

过户资料

主体资格 转让方提供 受让方提供 平台提供 转让完成,可获得
自然人 身份证复印件,专利证书原件; 身份证复印件
有效个体营业执照
转让申请书
代理委托书
转让协议书
发明人变更声明
专利证书
手续合格通知书
专利登记簿副本
公司 有效的企业营业执照副本复印件,专利证书原件 有效的企业营业执照副本复印件;企业组织机构代码证
平台专属代理事务所将对委托交易全程监督,确保所有交易合同及相关文件合法有效。

发布求购信息