当前位置: 首页 > 知识产权交易 > 专利转让 >

待交易一种食品包装盒涂胶装置

专利号:201911254696X 已授权

申请日:2019-12-10发布日期:2022-05-16

立即收藏 立即询价 转让价格:询价

专利摘要

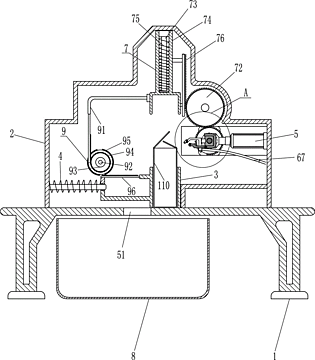
本发明涉及一种涂胶装置,尤其涉及一种食品包装盒涂胶装置。本发明的目的是提供一种可一次对多个包装盒进行涂胶,操作简单,且只需一人即可完成涂胶与粘合密封两项加工,且效率高的食品包装盒涂胶装置。一种食品包装盒涂胶装置,包括有支撑架、机箱、滑动框、压缩弹簧、气缸、收集框等;机箱内右部安装有气缸,支撑架顶部设有机箱,机箱内底部滑动式设有滑动框,滑动框与机箱之间连接有压缩弹簧,支撑架中部开有通孔,支撑架下方放置有收集框。本发明通过操作移动涂胶组件将滑动框内的包装盒进行涂胶,如此,对多个包装盒进行有效的提高了涂胶效率。

交易流程

  • 平台资深顾问将根据买家的需求,提供一对一服务,协助买家挑选到合适的专利。

  • 待买家确认无误后,根据顾问指导进行下单,并签订协议与合同,买家需要支付50%交易款给平台。

  • 平台将负责办理官方变更手续,向国知局提交转让材料。

  • 约10个工作日左右,待买家确认收到专利《变更手续合格通知书》后,向平台支付剩余交易款。

  • 转让成功后,平台会将专利证书原件、专利登记簿副本原件邮寄给买家,同时把交易尾款支付给卖家,保障双方交易顺利。

过户资料

主体资格 转让方提供 受让方提供 平台提供 转让完成,可获得
自然人 身份证复印件,专利证书原件; 身份证复印件
有效个体营业执照
转让申请书
代理委托书
转让协议书
发明人变更声明
专利证书
手续合格通知书
专利登记簿副本
公司 有效的企业营业执照副本复印件,专利证书原件 有效的企业营业执照副本复印件;企业组织机构代码证
平台专属代理事务所将对委托交易全程监督,确保所有交易合同及相关文件合法有效。

发布求购信息